

座機:0771-5791162
郵箱:2604045678@qq.com
微信號:13667715899
生產基地:廣西南寧市高新區科創路10號2#車間1樓1-1
浙江銷售中心:浙江紹興l中國紡織五金機電城
江蘇銷售中心:江蘇省泰興市黃橋鎮(13809016333 汪路)

噴油器是柴油發電機組燃料供給系統的一個重要部件。其功能是將噴油泵送來的高壓柴油以霧狀噴射到燃燒室中,并與燃燒室中的壓縮空氣形成良好的可燃混合氣。因此,對噴油器工作的基本要求是:有一定的噴射壓力和射程,以及適當的噴霧錐角,噴霧良好,在噴油結束時能迅速停止噴油,沒有滴油現象。目前柴油發電機組常采用閉式噴油器的孔式噴油器與軸針式噴油器。
孔式噴油器
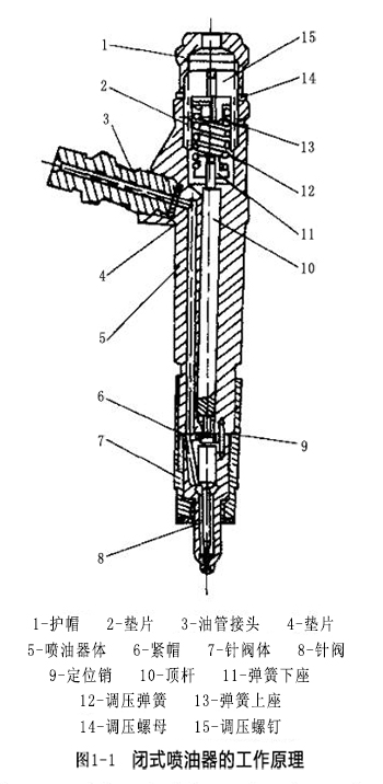
孔式噴油器主要用于直接噴射式柴油機中,按噴油嘴形式又分為長型和短型,噴孔數目為1~8個,噴孔直徑為0.15~0.7mm,如圖1-1所示為長回孔噴油器,它由針閥、針閥體、頂桿、調壓彈簧、調壓螺釘及噴油器體等組成。

噴油嘴(包括針閥與針閥體),又稱針閥偶件,用優質合金鋼(GCr15) 制成,并經熱處理和選配研磨成對,故不能互換。其配合間隙為0.001~0.0015mm。既要保證很好滑動,又要保證不漏油。針閥有兩個錐面,下部的錐面和閥體內相應的內錐面配合,稱為密封錐面,以密封噴油器內腔;中部錐面在閥體的環形油腔中,以承受油壓的軸向推力使針閥上升,稱為承壓錐面。針閥體上端有環形油槽及油道孔,下端有油腔及噴孔。針閥偶件用緊帽固緊在噴油器體上,調壓彈簧通過頂桿使針閥壓緊在閥座上,針閥和頂桿的接觸面成球面,可防止因頂桿彎曲而使針閥產生側向壓力。調壓彈簧的彈力可由調壓螺釘來調節,調好后用調壓螺母鎖緊。
閉式噴油器的工作原理如1-2所示,來自噴油泵的高壓柴油經噴油器體與針閥體內的油道進入油腔,由于噴孔被針閥關閉,腔內柴油壓力便迅速上升。當作用在針閥承壓錐面上的柴油壓力大于調壓彈簧的彈力時,針閥便沿軸向升起,噴孔被打開,于是高壓柴油通過噴孔開始噴入燃燒室。由于噴孔的節流作用,被噴出的柴油形成霧狀的細小顆粒,與空氣迅速開成可燃混合氣。這一噴油過程一直延續到噴油泵停止供油,并在噴油器腔內油壓低于調壓彈簧彈力時,針閥在調壓彈簧作用下立即關閉噴孔,噴油才停止。

閉式噴油器的噴油壓力主要取決于調壓彈簧的予緊力,因此,調節調壓彈簧予緊力的大小可直接改變噴油壓力的大小。將調節螺釘向里旋時彈簧予緊力增大,噴油壓力提高;反之,噴油壓力降低。針閥升程受到噴油器體下端面及調壓彈簧予緊力的限制,因此該噴油器針閥的最大升程為0.45mm以保證斷油迅速。噴油器在工作期間,少量柴油從針閥與閥體之間漏出,經回油管流回柴油濾清器或油箱,同時對針閥偶件起潤滑作用。
軸針式噴油器
軸針式噴油器的特點是單孔,孔徑較大,一般為1~3mm。針閥端頭有一定形狀的銷針(軸針),插入噴孔中,與噴孔構成一個很小的環狀間隙(約為0.013~0.025mm ),高壓柴油通過此間隙噴出。軸針的形狀有圓柱形和倒錐形,如圖1-3所示。噴出的柴油根據不同的軸針形狀產生不同的噴霧狀況。這種噴油器的優點是:軸針在噴孔中上下運動,既能改善噴霧,又能自行清除積炭,使噴孔不易堵塞,提高了柴油發電機組的工作可性。

如需了解更多相關詳情歡迎關注下方微信二維碼↓↓↓

掃一掃 關注微信